...A Dom ten -niczym drzewo,ktore z ziemi wyrasta i pnie sie ku gorze--widziany oczyma wszechswiata...

poniedziałek, 20 grudnia 2010

Kilka rysonkow piecy z odzysku







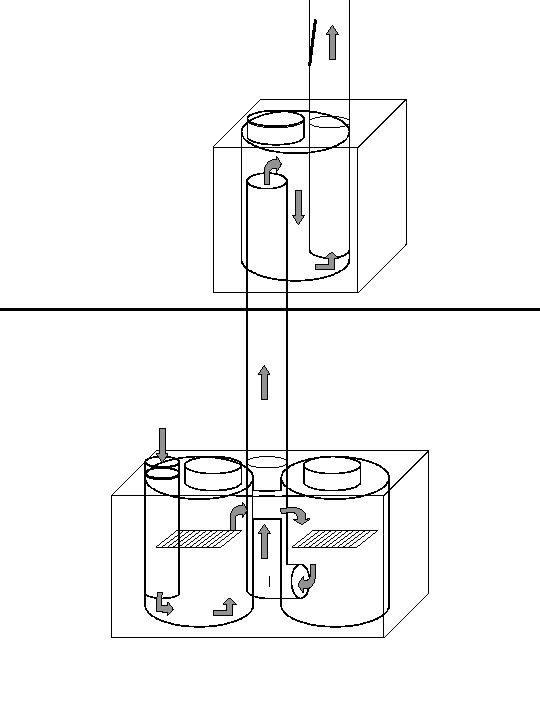
Jak juz obiecalem kilka schemacikow.Mam nadzieje ze pozwoli to na zrozumienie zasady dzialania.dodam tylko to zeby osiagnac dobry rezultat jezeli chodzi o ekonomike opalu potrzebne sa 4 beczki.Mozna je ustawic jedna na drugiej (pionowo) tak aby nie zajmowaly duzo miejsca i ogrzewaly np pierwsze pietro.Konfiguracji sa dziesiatki.Dobrze jest dwie pierwsze podlaczyc w poziomie tak aby druga sluzyla jako kuchnia--mozna wmatowac np na przestrzal w beczke rure metalowa o srednicy npp 35-40cmm dwie pokrywki od garnka no i mamy piekarnik przelotowy dostepny z obu stron beczki.Dodam jeszcze zdjecie piecyka ze szwecji ogrzewa 130m 2 powieszchni.Do wykonania mozna uzyc nie tylko beczek ale np-stary bojler wodny a polenisko np ze starej gasnicy itp...Opal-suche drzewo iglaste--bardzo dobre poniewaz zawiera zywice ktora wydziela duzo gazow a te sa ponownie spalane w drugiej komorze (beczce)Rura laczaca pierwsza beczke z druga(srednica 15 cm)ma za sciska plomienie wytwarzajac tym samym temp.600 stopni no a tyle potrzeba do kompletnego spalania gazu.W srodku wylozyc szamotem -z zewnatrz oblozyc 10 cm gliny no i niech sie pali.biorac pod uwage ze calosc jest metalowa CUG--jest fenomenalny prawdziwa Lokomotywa dlatego tez drzewo mozna wkladac pionowo

Brak komentarzy:

Prześlij komentarz